
一、电机概况
YZG系列三相异步振动电机是我公司总结多年生产ZG系列惯性振动器的经验,自行研制开发的。
YZG系列三相异步振动电机为各类机械通用型激振源,如振动给料机、振动输送机、振动放矿机、振动落砂机、振动筛分机、料仓的振动防闭塞装置等。广泛应用于电力、机械、建材、矿山、铸造、粮食、冶金、化工、港口等行业。
二、特点
YZG系列三相异步振动电机具有以下优点:
1、激振力与功率配合适当,机体质量轻、体积小。
2、利用平稳的回转产生振动力,噪声低。
3、全封闭结构,外壳防护等级IP54、IP55。
4、使用寿命长,轴承寿命2极达5000小时,4、6、8极达10000小时。
5、只需调节偏心块夹角,就可实现无级调整激振力。
6、可多机组合形成多种振动形式,满足各种作业要求。
7、机种丰富,规格齐全,能满足各类振动机械的工作需要。
三、使用条件
环境温度:-15℃~+40℃ 绝缘等级:F级
海 拔:<1000m 电源频率:50 Hz
电 压:380V 工作方式:连续S1
接 法:Y/△ 安装方式:任意方向
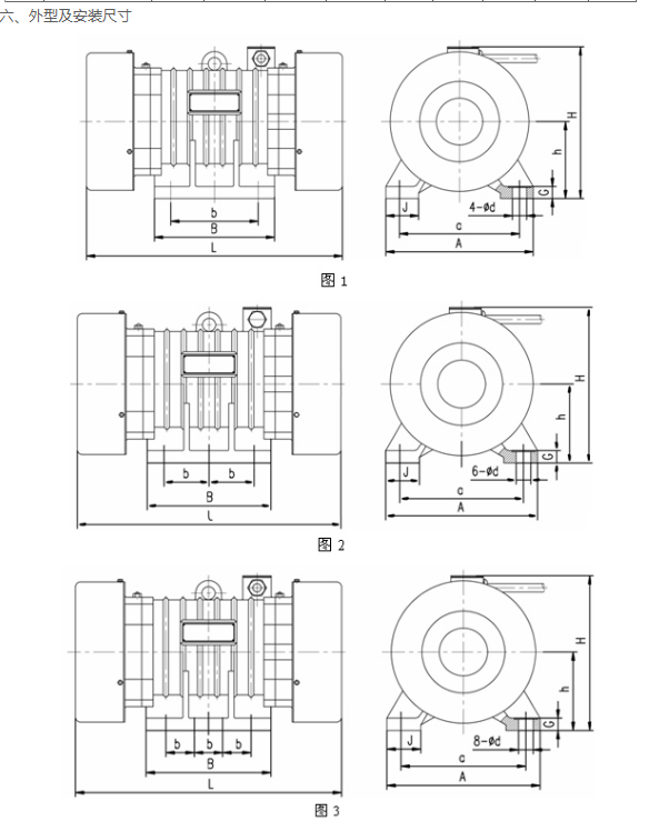
四、型号举例






